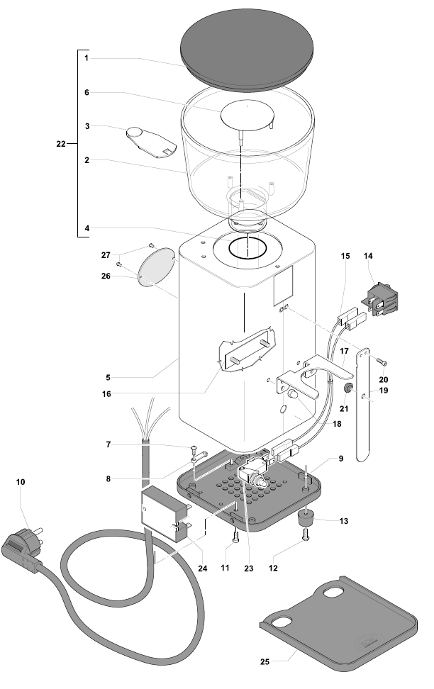
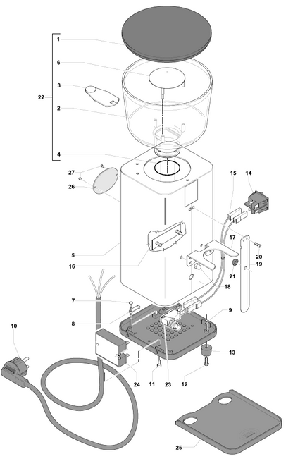
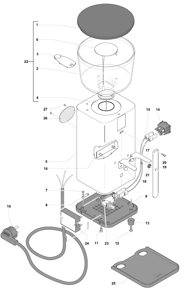
ECM S-Manuale 64 Part Diagram 89100
This is the ECM S-Manuale 64 Part Diagram 89100. In the list below, you will find all the parts associated with the diagram that are available. Use the parts diagram to determine the part(s) you need.
If the part listed below is not viewable then we do not carry it at this time. However, if your machine is currently in production we are likely able to acquire the part directly from the manufacturer. In this case, contact us by submitting a support ticket. Please be advised that it may take up to eight weeks for us to receive the part from the manufacturer.
Please note: Parts are neither returnable nor refundable. If you need assistance selecting a part for your machine, please contact us.
| Diagram # | Pos # | Image | Description | Price |
|---|
| Diagram # | Pos # | Image | Description | Price | |
|---|---|---|---|---|---|
| 89100-1 | 1 | Cover bean hopper
Part Number: G1009 |
|||
| 89100-1 | 2 | Bean hopper
Part Number: G1000 |
|||
| 89100-1 | 3 | Slide bean hopper
Part Number: G1014 |
|||
| 89100-1 | 4 |
|
Gasket bean hopper Part Number: G1017 |
$7.68 | View Part |
| 89100-1 | 5 | Body polished
Part Number: G1111 |
|||
| 89100-1 | 6 | Safety cap bean hopper
Part Number: G1002 |
|||
| 89100-1 | 7 | Screw lens head 3x8 for plastic
Part Number: G1030 |
|||
| 89100-1 | 8 | Cable clamp
Part Number: G1011 |
|||
| 89100-1 | 9 | Ground plate
Part Number: G1012 |
|||
| 89100-1 | 10 | Cable Schuko plug
Part Number: C199900957 |
|||
| 89100-1 | 10 | Cable US plug Part Number: P2034 |
$16.88 | View Part | |
| 89100-1 | 10 | Cable UK plug
Part Number: P2035 |
|||
| 89100-1 | 10 | Cable AU plug
Part Number: P2036 |
|||
| 89100-1 | 11 |
|
Screw cylinder M4x10 Part Number: P2006 |
$5.41 | View Part |
| 89100-1 | 12 | Screw lens head 3x12 for plastic
Part Number: G1031 |
|||
| 89100-1 | 13 | Foot Part Number: G1015 |
$6.60 | View Part | |
| 89100-1 | 14 | On-/Off switch
Part Number: G1021 |
|||
| 89100-1 | 15 | Cable loom
Part Number: G1251 |
|||
| 89100-1 | 16 | Bracket rack portafilter, inside
Part Number: G1129 |
|||
| 89100-1 | 17 | Rack portafilter
Part Number: G1113 |
|||
| 89100-1 | 18 | Cap nut M5
Part Number: G1034 |
|||
| 89100-1 | 19 | Tap micro switch
Part Number: G1121 |
|||
| 89100-1 | 20 | Screw cylinder M3x10
Part Number: P1995 |
|||
| 89100-1 | 21 | Rubber plug tap micro switch
Part Number: G1018 |
|||
| 89100-1 | 22 | Bean hopper complete
Part Number: G1000.K |
|||
| 89100-1 | 23 | Micro switch
Part Number: C199900306 |
|||
| 89100-1 | 24 | Coffee shaft
Part Number: G1115 |
|||
| 89100-1 | 25 | Collecting plate coffee
Part Number: G1008 |
|||
| 89100-1 | 26 | Emblem
Part Number: 81200 |
|||
| 89100-1 | 27 | Blind rivet struss Head 2,4x12
Part Number: P1998 |
|||
| 89100-2 | 1 | Screw counter sunk head M4x8
Part Number: P6111 |
|||
| 89100-2 | 2 | Gear setup grind level
Part Number: G1100 |
|||
| 89100-2 | 3 | Allen screw M3x3
Part Number: P6112 |
|||
| 89100-2 | 4 | Handle worm
Part Number: G1101 |
|||
| 89100-2 | 5 | Axis worm
Part Number: G1102 |
|||
| 89100-2 | 6 | Screw lens head M4x10
Part Number: P2022 |
|||
| 89100-2 | 7 | Worm
Part Number: G1103 |
|||
| 89100-2 | 8 | Bracket worm
Part Number: G1053 |
|||
| 89100-2 | 9 | Safety screw bean hopper M4x10
Part Number: G1029 |
|||
| 89100-2 | 10 | Cap nut M8
Part Number: G1033 |
|||
| 89100-2 | 11 | Spring ring 8,0
Part Number: P2011 |
|||
| 89100-2 | 12 | Burr holder upper, insert
Part Number: G1054 |
|||
| 89100-2 | 13 | Gasket burr bracket
Part Number: G1016 |
|||
| 89100-2 | 14 | Screw counter sunk head slotted M4x10
Part Number: P6110 |
|||
| 89100-2 | 15 | Burr, d=64mm (pair)
Part Number: G1040 |
|||
| 89100-2 | 16 | Burr bracket lower
Part Number: G1055 |
|||
| 89100-2 | 17 | Screw countersunk head M4x20
Part Number: P6109 |
|||
| 89100-2 | 18 | Corpus
Part Number: G1057 |
|||
| 89100-2 | 19 | Capacitor motor 220V-240V
Part Number: G1240 |
|||
| 89100-2 | 19 | Capacitor motor 110V-120V
Part Number: G1241 |
|||
| 89100-2 | 20 | Screw lens head M3x5
Part Number: P2064 |
|||
| 89100-2 | 21 | Grid coffee shaft
Part Number: G1192 |
|||
| 89100-2 | 22 | Distancing piece
Part Number: G1199 |
|||
| 89100-2 | 23 | Motor 220V-240V/50Hz 400W
Part Number: G1220 |
|||
| 89100-2 | 23 | Motor 110V-120V/60Hz 400W
Part Number: G1221 |
USA


